热点栏目 
《士兵突击》制片人吴毅被捕!
近日,A股上市公司浙文影业公告,子公司天意影视法定代表人吴毅,涉嫌职务侵占犯罪被公安机关刑事立案侦查。2月28日,吴毅被东阳市人民检察院批准逮捕。
上述消息一出,立马在影视圈内引发热议。吴毅出生于1963年,现任天意影视董事长、总经理。他是业内知名的制片人,担任过《士兵突击》、《我的团长我的团》、《王大花的革命生涯》等热播剧的制片人。
同时,浙文影业已正式向浙江省杭州市中级人民法院提交诉讼材料,向吴毅、新余上善若水(由吴毅实际控制)追讨业绩补偿款2.64亿元。
天眼查App显示,吴毅名下共有7家公司,5家为存续状态。吴毅涉及多条限制消费令、失信被执行人信息等,未履行总金额约1.22亿。同时天意影视、吴毅多次因合同纠纷和民间借贷纠纷被起诉。
涉嫌职务侵占犯罪
3月1日晚间,浙文影业公告称,公司于近日收到浙江省金华市东阳市公安局出具的《立案告知书》,子公司浙江天意影视有限公司(简称“天意影视”)法定代表人吴毅涉嫌职务侵占犯罪,被公安机关刑事立案侦查。2月28日,吴毅被东阳市人民检察院批准逮捕。

浙文影业表示,公司将积极配合公安机关的调查工作,并严格按照监管要求履行信息披露义务。
与此同时,浙文影业(原告)已正式向浙江省杭州市中级人民法院提交诉讼材料,向被告吴毅、新余上善若水(该公司由吴毅实际控制)追讨未完成的业绩对赌承诺2.64亿元。
券商中国记者获悉,此次被捕的吴毅,是国内知名的制片人,他担任过《士兵突击》、《我的团长我的团》、《王大花的革命生涯》等热播剧的制片人。在豆瓣,《士兵突击》评分高达9.4分,《我的团长我的团》评分9.5分。
据公开资料,吴毅,1963年出生,毕业于北京电影学院,本科学历,对外经贸大学工商管理EMBA。曾任湖南电广传媒节目分公司制作总监、浙江华谊兄弟天意影视有限公司总裁,现任浙江天意有限公司董事长、总经理。他曾获“全国十佳制片人”、“北京电影学院持续贡献奖”等荣誉。
天意影视官网这样介绍:吴毅先生进入影视制作领域20余年,先后完成影视剧制作四十余部、一千余集。吴毅带领团队成功打造了《乾隆王朝》、《绝对权力》 《士兵突击》《我的团长我的团》《故梦》《圣天门口》《王大花的革命生涯》《美好生活》、 电影《推拿》等一大批优秀作品,屡获国内外奖项和赞誉。
为何会走到这一步?与4年前转让天意影视股权有关
据了解,吴毅此次被捕,与他4年前转让天意影视股权给上市公司浙文影业(原名“鹿港文化”)有关。当年,吴毅旗下公司新余上善若水以3.95亿元的价格,将所持天意影视45%的股权转让给了浙文影业,但后期却没能完成业绩对赌承诺,引发连锁反应。
据媒体报道,去年,浙江文投专门出资6亿元并派遣专业管理团队注入上市公司,并逐步推进接管了天意影视,完成清产核资工作,最后全面接管了天意影视的日常经营管理。在此过程中,浙文影业发现吴毅之前的职务侵占行为,并诉诸法律程序。
回溯来看,2017年11月6日,浙文影业与新余上善若水(实控人为吴毅)、吴毅签署《股权转让协议》,新余上善若水将其持有的天意影视45%的股份,以3.95亿元转让给浙文影业。收购完成后,浙文影业将持有天意影视96%股份,仍为其第一大股东及实际控制人。
新余上善若水及吴毅当时承诺, 2017年-2019年期间,天意影视经审计确定的净利润不低于1亿元、1.2亿元和1.5 亿元。如未达到上述约定的,由第一被告(新余上善若水)履行补偿义务,第一被告未履行的,由第二被告(吴毅)履行补偿义务。
不过随后,天意影视的业绩承诺并未完成,差额为23448万元。浙文影业称,两被告本应立即履行对赌补偿义务。2020年11月2日,原、被告就股权转让协议约定的对赌补偿义务经协商达成补充协议,主要内容包括:
1、被告所持有的原告的股票,全部质押给原告;
2、被告股票的解禁期延长至补充协议约定的业绩对赌完成之日;
3、新增2021-2025 年的业绩对赌期限。新增的期限内除了继续完成2017年-2019年尚未完成的23448万元累计净利润差额外,还应当每年额外完成不低于3000万元的净利润。
在补充协议签署后,由于被告(指新余上善若水、吴毅)的行为导致补充协议的履行失去了客观基础:被告在补充协议中约定用于抵押的股票已经被全部强制平仓,补充协议的履行失去了基本的保障;两被告均因存在巨额债务无法按照生效法律文书规定的期限规划而被列为被执行人。
于是,浙文影业委托律师发出律师函,通知两被告解除补充协议。在补充协议解除后,被告理应按照股权转让协议的约定立即支付业绩对赌差额补偿款项,同时因被告的行为导致2021年天意影视并未产生利润,该等损失按照不低于3000万元计算,由被告承担。
3月1日晚间,浙文影业表示,公司与新余上善若水、吴毅的诉讼,公司已正式向浙江省杭州市中级人民法院提交诉讼材料,涉案金额为26448万元,其中补偿业绩对赌净利润23448万元;赔偿2021年业绩对赌损失3000万元。
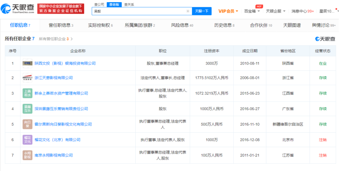
吴毅涉及多条限制消费令,名下共有7家公司
天眼查App显示,吴毅名下共有7家公司,5家为存续状态,分别为陕西文投(影视)银海投资有限公司、浙江天意影视有限公司、新余上善若水资产管理有限公司、深圳景藤互乐营销有限责任公司、霍尔果斯向日葵影视文化有限公司,多数是影视相关公司,吴毅为股东或担任法定代表人、董事、总经理等职位。

天眼查个人风险信息显示,吴毅涉及多条限制消费令、失信被执行人信息及终本案件,未履行总金额约1.22亿。同时浙江天意影视有限公司、吴毅多次因合同纠纷和民间借贷纠纷被起诉。
值得注意的是,吴毅持有新余上善若水资产管理有限公司和陕西文投(影视)银海投资有限公司合计约1457万股权,已于2020年被冻结。

浙文影业主营影视与毛纺织业务,近期股价曾出现异动
最后,再来看看此次与吴毅产生纠纷的上市公司浙文影业。
浙文影业的主营业务为影视业务与毛纺织业务。影视业务板块的主要业务包括传统电视剧的制作和发行,网剧的制作和发行,以及电影的投资和发行;毛纺织业务板块的主要业务是各类精纺、半精纺纱线以及高档精纺呢绒面料生产与销售,公司还涉及酒店经营和污水处理业务。
根据最新的业绩预告,公司预计2021年年度业绩扭亏为盈,预计实现净利润6400万元到9600万元,而上年同期亏损超10亿元。扣除非经常性损益后的净利润为亏损2.24亿元到3.36亿元。
2021 年,公司整体纺织行业运行较为平稳,公司纺织板块收入保持稳步增长。2021 年度公司实现营业收入 25 亿元左右。
同时,受公司位于张家港市塘桥镇鹿港工业园区厂房拆迁及出售影响,本年度非经常性损益约3.5亿元-4亿元。
但因公司影视板块对尚未播出的剧目根据客户情况、市场情况计提了减值准备,子公司天意影视未完成预计业绩承诺,因此,归属于上市公司股东的扣除非经常性损益后的净利润未能盈利。
值得注意的是,2月14日至16日期间,浙文影业曾连续3个交易日放量涨停,对于股价异动的原因,浙文影业表示,经公司自查,公司目前生产经营正常,公司目前主业市场环境或行业政策没有发生重大调整,不存在应披露而未披露的重大信息。
随后几个交易日,浙文影业股价震荡回调。不过,3月2日,公司股价逆市上涨1.47%,报3.46元/股,最新市值为40亿元。
责编:林根股民福利来了!送您十大金股!点击查看>>









